Sunday, January 25, 2015

Apple Files Innovative Patents relating to Add-On Lens Attachments onto Next Generation iPhone Camera Lens Structure 🍎🍎🍎🍎🍎🍎🍎


★ APPLE files Two New Patent Applications (that we discovered at the US Patent Office) showing how Apple may permit Future-iPhones users to expand their photographic capabilities with lens accessories. One concept describes a removable "back panel" which contains different camera options, and a second concept detailing how users may be permitted to attach magnetically, "Lens Modules" onto their iPhone’s camera lens structure, externally, to provide different focal-length options, for example, Telephoto Lens attachments, and a Wide-Angle Lens attachments.



★ Apple Filed Innovative Patents on January 28, 2014 relating to Add-On Lenses and Periscope Attachments onto APPLE iPhone Camera




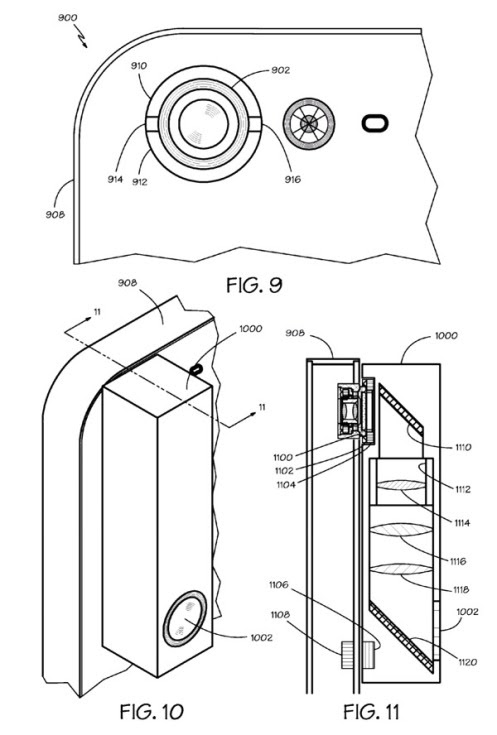
★ The Patents refer to "Magnetic add-on lenses with alignment ridge" describes the means of attaching and holding accessory lenses to future iPhone models using strong magnetic attraction. Ceramic Magnets will keep the module firmly fixed and aligned to the iPhone external machined case-mechanism.




★ The Patent calls for what I would call a male and female "alignment ridge" that will firmly align and mechanically hold by s strong magnetic attraction of the lens attachment, maintaining a center-line position with respect to the optincal-center-line of the attached lens to that of the iPhone’s internal Camera optical center-line axis. The ridge will also serve as a Light-Trap, to prevent ambient light entering through the attachment location.




★ Apple has a long history of exploiting magnets for quick and easy attachment, and has used them among other things to replace latches in the closure devices for laptop screens, ‘MagSafe’ AC power connections and in the various ‘Smart’ covers available for its line of iPad tablet computers. Much more reliable than mechanical connectors for frequent use, magnets ‘just work’.




★ Patent 8,639,106 also offers some details on the possible ‘camera modules’ which might be attached to a future iPhone, including the tantalizing possibility that they might contain a ‘ring light and ‘multiple lens elements’ including ‘at least one moving element’. This element could be moved by a ‘voice coil motor’ to provide ‘various optical functions such as autofocus, lens zoom, anti-shake, or a combination of such functions’.




★ The patent application also mentions the capability for the attachment of a "periscopic low-profile multi-element lens" design for "lenses that require a longer optical path" that would otherwise project a substantial distance from the relatively compact iPhone.



★ Link to Apple Patent Application: http://tiny.cc/1dvgax




★ Years ago SONY originally used an internal "Periscopic Zoom" lens design that was fixed to the digital camera’s Imager, internally. The DSC-T500 which was released in August, 2008 was apparently SONY’s last "T" model digital camera.



★ Sony was the first and only enterprise to use the "Internal Optical Periscope" technology coupled to ZEISS zoom Lens designs. Apple is now Patenting a similar "Optical Periscope" technology, however an external. Therefore either the External Periscope version as an attachment is "different enough" from SONY’s technology, or SONY’s patent exclusivity time has run its course.




★ Personally, before smartphones, I carried a SONY DSC T10 in 2005, sporting a very thin multi-megapixel CCD imager capturing enough detail for photo-quality 8"x10" prints, with an optical zoom plus Super SteadyShot stabilization, Rear LCD display, High sensitivity (ISO 1000) settings.




★ The SONY T500 camera integrates a wide (16:9), 3.5-inch (measured diagonally), trans-reflective, touch panel LCD screen for easy navigation, framing and viewing in strong light conditions. It has a Carl Zeiss® 5x optical zoom lens with a wide field of view (33–165 mm, 35 mm equivalency).




★ The Sony T500 incorporates Optical SteadyShot™ image stabilization and high sensitivity settings up to ISO3200 helps combat blur and facilitate flash-free shooting for natural-exposed photos. The model also incorporates face detection technology, an intelligent function that automatically detects up to eight faces in the camera frame and adjusts focus, exposure and flash.







Pleased you’re reading, as our 38,000 readers world-wide, gives motivation as new topics published every day. Spread the Word to your friends, family, and associates; Forward the link below, post it on your Facebook and Twitter Pages for their review,, anyone may subscribe, its secure, confidential, as every time I publish a story the WordPress system {not I} sends a reminder to you with a link to my new Article: http://ift.tt/19pAPPd




Perspective: These articles are created to inform a diverse audience, whether it be photography, digital cameras, lenses, Image editing, Apps, Smartphones, iPads, iPhones, Laptops and related products, Health & Wellness, or any news-worthy topic. The purpose is to inform, from sources that are believed to be reliable, and stimulate Dialogue.




An early adopter of digital photography and with 3 decades of imaging experience, and very interested in the application of digital imaging technologies for the law enforcement community, including crime scene and evidence documentation, enhancement to support criminal investigation, and court room testimony.



My new writing project is titled, "Principles of Forensic Digital Photography and Post Image Processing, Encryption and Authentication," a comprehensive digital imaging reference for law enforcement, agency officials, crime lab directors, crime scene processors, officers of the court, and students of criminal justice. Development of this book requires careful examination of the technologies, optics, hardware, software, coupled with discipline-specific and environmental nuances in order to serve the target-markets.



Are you Interested ? Here is the Link:

http://ift.tt/1asOAIb




To learn more about what else we do, take a moment and visit these links, browse around. We are pleased with over 24 million visits as of Dec/2013, in recent years: http://www.416-1100.com .



If digital Imaging is of interest, I teach a course named "Principles of Digital Imaging and Post Image Processing" as an Adjunct Prof at FAU: http://ift.tt/19pAQ5y




When I do what I do… I usually do it here.




As a "Health Nut" for Health & Wellness; http://ift.tt/1iIfMrA




As many of my friends, family and students know, I am an avid iPad adopter since its release April, 2010. With Apple’s release of the Retina-Display iPad Mini, (I sold my iPad 4 to Gazelle.com) applied the proceeds to purchase the "mini" with 128GB of Storage, AT&T connectivity, plus added Logitech’s UltraThin Keyboard Cover, and an ACME MADE San Francisco rubberized thin slip-over protective case. This thin package actually fits into my trousers pocket.





Filed under: Accessories for iPad, iPhone, Apple iPad and iPhone Rumors, Apple iPhone and iPad News, iOS Devices - iPads - iPhones, iPad Accessories, iPhone Accessories, NEWS - Digital Cameras & Lenses, NEWS - iPad & iPhone Accessories, NEWS - Technology - Devices, NEWS of Public Interest Tagged: Apple Patent Applications, Apple Patents, iPhone Lens Attachments



via WordPress http://ift.tt/15I8vHE

No comments:

Post a Comment